-
Характеристики
Производитель Метромаш Площадь обогрева, м² 250 Топливо Дрова, Газ Материал топки Сталь Толщина стали, мм 3 Страна Беларусь Гарантия мес 12 Диаметр дымохода 120 Габариты (ВхШхГ) 1530х460х900 Вес, кг 256 Варочная плита Нет Подключение дымохода сзади Тип Одноконтурный Тип котла Длительного горения Установка Напольный Вентилятор Нет Регулятор тяги Нет Объем камеры загрузки, м3 75 КПД 75 Мощность кВт 25 Регулятор тяги Нет Количество контуров Одноконтурный -
Описание
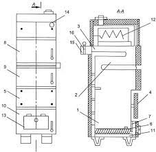
Твердотопливный котел Метромаш Комфорт КС-ТГ-25у с теплообменником и газовой горелкой представляет собой универсальное решение для обогрева дома или дачи до 250 квадратных метров. Производитель этого надежного оборудования - компания Метромаш из Беларуси, известная своим высоким качеством продукции.
Основным топливом для котла являются дрова, что делает его экологически чистым и экономичным в использовании. В то же время, наличие газовой горелки дает возможность использовать газ как альтернативное топливо, что особенно удобно в случае его доступности или при необходимости быстрого переключения на другой вид топлива.
Материал топки - сталь толщиной 3 мм, обеспечивает долгий срок службы и высокую стойкость к высоким температурам. Габариты котла составляют 1530х460х900 мм, а его вес - 256 кг, что делает его компактным и удобным для установки в различных условиях.
Котел оснащен одноконтурной системой, предназначенной для обогрева и, при необходимости, подачи горячей воды. Отсутствие вентилятора и регулятора тяги не умаляет его эффективности благодаря высокому коэффициенту полезного действия (КПД 75%). Это позволяет котлу обеспечивать эффективное и экономичное потребление топлива.
Объем камеры загрузки составляет 75 литров, что обеспечивает длительное время горения и минимизирует необходимость в частой подаче топлива. Благодаря простоте эксплуатации и надежности, Метромаш Комфорт КС-ТГ-25у с теплообменником и газовой горелкой является отличным выбором для тех, кто ценит комфорт и надежность в отопительном оборудовании.
Твердотопливный котел Метромаш Комфорт КС-ТГ-25у с теплообменником, газовая горелка купить в Гродно с доставкой и рассрочкой платежа. -
Отзывы
-
Условия доставки и оплаты
Условия доставки Твердотопливный котел Метромаш Комфорт КС-ТГ-25у с теплообменником, газовая горелка в Гродно -
С этим товаром покупают
Гарантия и возврат
Амазонка бай реализует более 10 000 товаров надлежащего качества от проверенных поставщиков, зарекомендовавших себя как ТОП-производители. Гарантия производителя распространяется на гарантийный талон либо иной другой документ его заменяющий.
В случае возникновения гарантийного случая необходимо обратиться в сервисный центр или в наш отдел по рекламациям.
Какие гарантийные сроки?
В основном на продукцию распространяется гарантия от 12 месяцев до 25 лет в зависимости от срока, предусмотренного производителем. Данная информация указана в гарантийном талоне либо ином заменяющем его документе.
За более подробной информацией и разъяснениями можете обращаться к нам по телефону +375 (29) 8000 226. Всегда рады помочь!
Какая информация должна быть в гарантийном талоне?
Гарантия содержит информацию:
- дата реализации;
- модель товара;
- серию и номер.
В талоне проставляется штамп торгующей организации и печать ответственного лица.
Легкий возврат товара
Возврат некачественного товара.
Для возврата приобретенного недоброкачественного товара будет необходимо:
- связаться по телефону +375 (29) 8000 226 с отделом по рекламациям, объяснить причину поломки;
- предоставить документы, свидетельствующие о приобретении: кассовый чек, товарный чек, ТН, договор поставки и иные документы, доказывающие факт приобретения данного товара;
- оформление возврата некачественного товара - заявление;
- согласование возврата денежных средств либо замену товара.
Возврат товара надлежащего качества.
В случае возврата доброкачественного товара, потребитель осуществляет возврат в течение 14 календарных дней с момента приобретения. Товар должен быть в заводской упаковке, без повреждений, содержать все сопроводительные документы (гарантийный талон, паспорт изделия и т.д.) и иметь такой же вид, как при покупке.
Обращаем Ваше внимание, что возврат возможен не на все категории товаров. Перечень непродовольственных товаров надлежащего качества, не подлежащих обмену и возврату, утвержден Постановлением Совета Министров Республики Беларусь № 778 от 14.06.2002 года. (Изделия под заказ, отрезные товары)
Остались вопросы? Позвоните нам для уточнения +375 (29) 8000 226.
Простая замена товара
Я могу вернуть доброкачественный товар?
Да. Если Вы приняли решение вернуть качественный товар, такая возможность действует в течение 14 календарных дней со дня приоретения. Внимание! Товар должен иметь продажный вид как при покупке, без следов эксплуатации.
Однако вернуть можно не все покупки. Перечень непродовольственных товаров надлежащего качества, не подлежащих обмену и возврату, утвержден Постановлением Совета Министров Республики Беларусь № 778 от 14.06.2002 года. Обмен и возврат продукции осуществляется на территории продавца.
Как вернуть недоброкачественный товар?
Для возврата товара ненадлежащего качества требуется:
- обратиться к торговой организации;
- предъявить документы, подтверждающие покупку;
- обязательно предоставить заявление на возврат;
- обговорить возврат средств с менеджером.
Необходимо некачественный товар вернуть по месту расположения продавца.
Кредит и рассрочка товара
Порядок действий для рассрочки:
- 1. Клиент выбирает товар в интернет-магазине.
- 2. Определяется и согласовывает с менеджером сроки и условия рассрочки.
- 3. В зависимости от выбранных условий направляется заявка в банк.
- 4. Банк оперативно рассматривает заявку.
- 5. После подтверждения рассрочки доставляем товар покупателю.

* Скидки и акции при рассрочке не действуют

* Скидки и акции при рассрочке не действуют
название | в месяц | итого | |
---|---|---|---|
Карта Черепаха (8 мес.) | 434 | 3 469 | |
Альфа-рассрочка (5 мес.) | 694 | 3 469 | |
Халва (4 мес.) | 867 | 3 469 | |
Легкие покупки (4 мес.) | 867 | 3 469 | |
Карта покупок (2 мес.) | 1 735 | 3 469 |